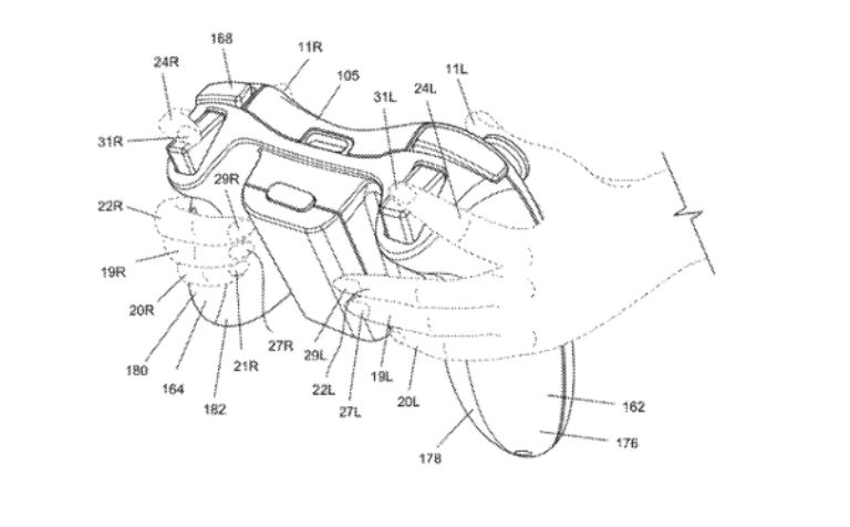
Microsoft patentó un control de Xbox con nueva tecnología, ya que el control podrá detectar quién lo está sujetando, basándose únicamente en la presión que el usuario ejerza sobre él. Todo parece indicar que el nuevo control de Xbox contará con una memoria, la cual procesaría la información detectada al sujetarlo y así comparar los perfiles de los jugadores para identificar el nombre de usuario y su cuenta.
Los perfiles almacenados en el control se asocian con el “identificador”, que podría ser un nombre de usuario, dirección de correo electrónico, contraseña y nombre de jugador. Microsoft tiene pensado proporcionar contenido personalizado a un usuario después de que éste se identifique.
Aunque algunos podrían pensar que es lo último en tecnología, la verdad es que la patente se realizó desde 2009, pero es hasta ahora que el control podría ver la luz.


Deja un comentario